采用单片集成控制芯片的DC-DC开关电源转换系统被誉为高效节能型电源管理系统。它代表着直流稳压电源的一种发展方向,现已成为直流稳压电源市场上的主流产品。其主要特点是功率管工作在开关状态,功率管不停地导通和关断,直流电能断续地经过开关管,以磁场能的形式暂时存储在电感中,然后经过电容滤波,以连续方式将能量传送到负载。这样,开关电源转换系统利用电感元件和电容元件的能量存储特性实现了DC-DC转换。随着便携式设备在人们日常生活中的日益广泛,开关电源转换技术不断地进步,电源转换性能大幅度的提升。系统控制模式由电压控制模式逐渐发展为电流控制模式。控制芯片集成度越来越高,逐渐实现了单片集成化。这些使得开关电源转换系统无论在性能上还是在结构上都有着长足的进步。
DC-DC开关电源转换系统主要由主电路和控制电路两部分组成。构成主电路的元件包括:输入电源、开关管、整流管以及储能电感、滤波电容和负载。它们完成电能的转换和传递,合称为功率级。控制电路则是控制功率开关管的通断,调节输出电压稳定的所有电路集合,现在多数集成为控制芯片。通常情况下,当输入电压及负载在一定范围内变化时,调整开关管的通断时间,负载电压可以维持一个近似恒定的值。功率开关元件和储能元件采用不同的配置或不同的连接方式,可以实现将同一种输入电压转换成多种不同的输出电压。开关元件和储能元件的具体配置连接关系就称为开关电源转换系统的拓扑结构。

在众多电路拓扑结构中,典型的是降压(buck,如图1-1(a))、升压(boost,如图1-1(b))和反向(如图1-1(c))。目前,电路应用中很多复杂的拓扑结构都是在这三种基本拓扑结构的基础上扩展优化实现得来的。
对于采用单片集成控制芯片的DC-DC电源转换系统,图1-1中的开关器件通常是用晶体管来实现的,它们有时候也集成在控制芯片内部。
反向输出结构通常采用电荷泵的方式来实现。下面只重点分析前两种电路拓扑结构。
降压型开关电源转换系统是因输出电压VOUT小于等于输入电压VIN而得名的。其特点是在功率管或变压器二次侧输出整流器之后紧跟LC滤波器。其工作过程可以分成两个阶段。
在开关S闭合时,流过电感L的电流iL呈线性上升趋势。忽略S上的电压降,有如下关系:

在开关S断开时,电感上的电流不能突变,电感电流iL依靠二极管D来续流。此时,iL逐渐减小,电感中存储的一部分能量向负载释放。忽略二极管的导通压降,有如下关系:

电感电流iL,在开关S闭合时上升,S断开时下降,周而复始地变化。通过控制电路改变开关的占空比,即可保持输出电压恒定。该结构优点是:输出电压的纹波峰-峰值比较低,可以有较高的输出功率。
升压型开关电源转换系统与降压型转换系统有相同的组成部分,只是它们的位置被重新布置了。开关导通时,电流环路仅包括电感、开关管和输入电压源,二极管反向阻断。电感电流线性上升,可用下式描述:

开关断开时,由于电感中的电流不能突变,二极管立刻正向导通。此时,电感与开关相连的一端的电压被输出电压钳位,这个电压被称为反激电压,其幅值是输出电压减去二极管的正向导通压降。开关管关断这段时间里,电感上的电流可用下式表示:

如果在下个开关周期之前,电感中的磁通完全降为零,就称电路工作在电流断续模式。电压和电流波形如图1-2所示。

在下一个开关周期之前,如果电感中的磁通没有完全降为零,还有部分剩磁,就称电路工作在电流连续模式。电压和电流波形如图1-3所示。

由于升压式开关电源转换系统输出电压高于输入电压的幅值,电路工作在电流连续模式下存在固有的不稳定问题。通常情况下,升压式开关电源转换系统限定在电流断续工作模式。这类转换拓扑结构所用元器件较少,一般在中小功率的应用场合很流行。
以上分析过程中我们可以看到,无论是哪种工作方式,它们的基本原理都是一个能量转换的过程,具体关系可以用下面的式子来表示:

其中,TON是开关每次接通的时间,TOFF是开关关断的时间,EOUT和ESUP分别为提供给负载的能量和电源供给能量。开关电源就是通过改变开关接通时间和工作周期的比例来改变输出电压的。实际应用过程中,负载电压和输入电源电压是变化的,只要适当地调整开关接通时间TON占整个工作周期的比例就能使输出电压VOUT维持不变。随着开关电源转换技术的进步,调整开关接通时间占空比的控制方法在不断演变,日趋成熟。
为了将开关电源转换输出电压稳定在设定的电压值,系统需要控制芯片对输出信号采样,并根据采样信号的分析控制开关管导通和关断。调整控制开关管导通和关闭的方式就称为开关电源转换系统的转换调制方式。当前主流的调制方式主要有:脉冲宽度调制和脉冲频率调制。每种调制方式都有各自的优点和缺点。设计者根据实际应用需要选择合适的那种调制方式,也可以将两种方式结合起来使用或者对某种调制方式加入一些优化控制来扬长避短。
脉冲宽度调制是在脉冲频率一定的情况下,调整开关管控制脉冲宽度,从而改变开关控制脉冲的占空比。基本实现方法是由内部振荡器产生一个频率恒定的锯齿波,通过负载端反馈信号与内部产生的锯齿波进行比较,然后输出一组恒频变宽的方波信号对功率开关管进行控制,根据负载状况实时调节开关管的导通时间,稳定输出电压。其工作波形图如图1-4所示。

这种方法的优点是在大负载时的效率高,对负载变化跟随较好,而且噪声频谱恒定,利于进行电磁兼容设计。缺点是当负载较小时,控制电路的工作电流占总工作电流的比例上升,导致系统转换效率降低。
脉冲频率调制是在开关管的控制脉冲宽度一定的情况下,调整控制脉冲的频率。脉冲频率调制可以采用两种方式实现:
第1种方式是芯片内部固定每个脉冲周期的开启宽度,改变调整脉冲频率(即改变脉冲周期的长短)来实现对控制脉冲占空比的控制。这种情况下,电感电流会随着输入电压的变化而变化,不利于选择电感。
第2种是脉冲宽度在芯片内部不固定,而是采取电感电流控制的方式来设定开关控制脉冲的宽度。芯片内部只是为电感电流设定一个极大值,实时检测开关器件上的电流。在开关电流达到设定的极大值时,开关器件关断。在开关关断一定时间后(一般为uS级的时间),检测系统输出电压VOUT,输出电压的大小决定是否需要重新开启开关器件。这种方式下,如果开启脉冲宽度或者是开关器件的峰值电流过大,会加大系统的导通损耗。如果工作频率太高,会增加系统的开关损耗。但是,开关频率高可以减小功率器件和储能电感的尺寸。所以,设计时应对各方面进行折中优化,电路比第1种方式略为复杂。
目前PFM控制方式在开关电源转换系统中使用比较普遍,具有以下优点:轻负载应用情况下转换效率较高;开关器件工作频率可以很高;频率特性较好;电压调整性能好等。PFM调制方式可以采用电流或者电压控制模式实现,其工作波形图如图1-5所示。

混合调制方式是指混合使用PWM和PFM两种调制方式,脉冲宽度与开关频率均不固定,彼此都能改变。它同时兼顾轻负载时的PFM方式转换效率较高和重负载时PWM方式转换效率较高的优势。在轻负载时,电路选择脉冲频率调制方式,需要时可跳过脉冲。负载较重时,电路选择脉冲宽度调制方式,在尽可能宽的负载范围提供大的效率。混合调制方式在理论上具有许多优点,但实际实现的时候,控制和检测电路设计比较复杂。
为了使整个DC-DC开关电源转换系统能够稳定运行,需要对输出信号采样,并引入负反馈。根据反馈采样类型,开关电源的反馈控制模式可以分为电压反馈控制模式和电流反馈控制模式两种。
电压反馈控制模式的基本原理是将输出电压采样,与一个电压基准比较。对比较的结果分析判断,决定功率开关管的通断。图1-6是电压反馈控制型脉宽调制DC-DC转换系统的功能结构图。

图1-6中,系统输出电压(VOUT)经过采样得到图中的VFB。VFB与基准电压VREF比较,误差放大后得到VE,PWM比较器将VE和固定频率的锯齿波(VRAMP)比较,输出一组控制脉冲。这些脉冲的宽度随误差信号VE的变化而变化,它们决定输出能量的大小。当负载消耗能量增大时,脉冲宽度增大;负载消耗能量减小时,输出脉冲宽度减小。这样维持输出电压相对稳定。这种电压反馈控制型开关电源转换系统只需要一个电压反馈信号,用于实现整个电路的负反馈。整个控制电路中只有一个反馈环路,是一种单环控制系统。但是,电压反馈控制型开关电源转换系统是一个二阶系统,它有两个状态变量,即输出滤波电容器上的电压和输出滤波电感中的电流。由于二阶系统是一个有条件稳定系统,只有对控制回路进行精心设计,在满足一定条件下,闭环系统才能稳定工作。我们知道,开关电源转换系统的电流都要通过电感,对于电压信号有90°的相位延迟。而整个稳压电源系统是通过电感上磁通量的改变来适应输入电压和负载变化需求,保持输出电压稳定的要求。这种采样输出电压的方法,在调节过程中存在一定滞后,响应速度较慢,稳定性不高,甚至在大信号变动时容易产生振荡。

图1-7是电压反馈控制型脉频调制DC-DC转换系统的功能结构原理图。输出电压采样后加在误差比较器的反相输入端。当输出电压VOUT低于某一设定值的时候,误差比较器输出高电平。该高电平允许振荡器输出的方波经过触发器驱动功率开关管。若输出电压VOUT高于设定值时,误差比较器输出低电平。该低电平进入触发器,使触发器闭锁,振荡器输出的方波不能通过触发器,功率开关管处于关断状态。这样,控制输出信号的脉冲宽度不变而实际上开关周期变长了,占空比减小了,实现对输出稳定的控制。
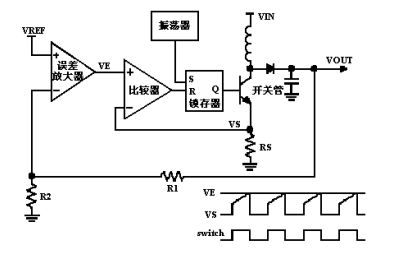
由于电压反馈控制型DC-DC转换系统存在一些缺点,电流反馈控制技术在近十几年得到了很好的发展。电流反馈控制型DC-DC开关转换系统是在传统的电压反馈控制型转换系统基础上,增加电流反馈环,使其成为一个双环控制系统。这样,电感电流不再是一个独立变量,DC-DC开关变换器的二阶模型中去掉了电感电流这个未知参数,成为了一阶系统。电流反馈控制型PWM调制DC-DC转换系统结构原理图如图1-8所示。

图1-8中,电流采样信号VS跟误差放大器的输出电平VE进行比较,PWM比较输出和振荡器脉冲信号共同控制功率开关管。当电流在采样电阻(RS)上的电压达到VE电平时,PWM比较器输出状态发生翻转,功率管截止。整个电路逐个地检测和调节开关电流脉冲,使得系统达到稳定输出。
电流反馈控制模式的PFM调制系统与电流控制模式的PWM系统结构类似,电路原理图如图1-9所示。

电路仍然由两个反馈环路构成。一个是通过采样电压监视输出电压的环路,另一个是功率开关管的电流限制环路。电流控制模式PFM调制系统有其独特的优点。系统工作原理说明其自身就是一个稳定的系统,不需要采取其他额外的系统稳定手段。在电感电流较高时,内部环路直接执行电流限制,大大缩短了功率开关管的导通时间。在输出电压较高时,其工作频率会自动改变,系统输出电压调节范围可以很宽。所以,在负载较轻或者空载情况下,PFM调制方式控制芯片功耗较低,转换效率较高。它的输出电压精度主要取决于内部电压比较器的精度和基准电压源的输出电压特性。
DC-DC开关电源转换控制芯片要求能够实现一款高频、高性能、输出恒定电流的升压型DC-DC电源转换系统,主要应用于采用电池供电的便携式电子产品,驱动白光LED或者类似的电流型负载。
现阶段,主流便携式电子产品大多采用两节普通电池或一节锂离子电池供电。因此,对DC-DC电源转换系统,常常需要适应2.4V~3.6V的输入电源电压。为了与标准接口电压3V/5V/12V兼容,论文设计的DC-DC电源转换系统的输入电压范围较宽,输出电压根据负载调整。对于采用电池供电的电路系统,为了延长电池的使用寿命,负载一般较轻。所以,优先选用在轻负载时效率较高的PFM调制方式。而且,PFM调制方式理论比较成熟,具有许多自身的优点,在DC-DC开关电源转换系统中已经得到广泛的应用。对于电路的系统设计,选用PFM调制方式在理论上风险较小。
对于系统反馈控制模式,电流反馈控制模式在近几十年发展得比较成熟,而且相对于电压反馈控制模式具有多方面的优点:
(3)固有的逐个脉冲幅值检测及限流,简化过载保护和短路保护,大大提高了工作的可靠性;
综合起来,电流反馈控制模式PFM调制DC-DC电源转换系统能够满足便携式电子产品的实际应用需求。因此,论文设计的DC-DC源转换控制芯片基于电流反馈控制模式的PFM升压系统架构。

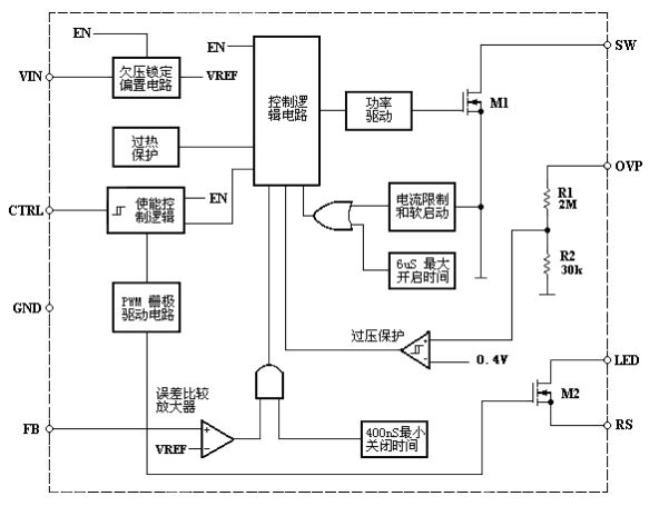
从图1-10可以看到,整个电路除了电流反馈控制升压型DC-DC转换的标准模块外,还设计了一系列的保护电路,如过热保护、电源欠压保护、输出过压保护、软启动等。为了实现对LED亮度的控制和电源系统的可编程控制,电路中设计了一组对输出电流动态控制的电路。芯片在电源关断的模式下,负载LED与地断开,有效地避免了负载产生泄漏电流。
芯片外部端口具体功能说明如表1-1所示。控制引脚CTRL有两个功能,一是控制整个芯片系统的起停;另一个是PWM模式控制LED开关M2。如果CTRL端口没有加载PWM信号,则CTRL端就是一个标准的使能控制端。为了严格区分CTRL端口的“起停控制”和“输出电流 PWM调制”功能,系统规定,CTRL维持高电平至少500μS,电路才启动。系统正常工作后,若CTRL维持低电平超过32mS,系统才关闭。

系统上电后,使能控制模组输出两组控制信号。一组用来启动偏置模块建立全电路的基准电流,并接入负载;另一组用来启动软启动电路模块,复位RS锁存器。当基准电流源启动后,偏置模块输出“使能允许”信号启动后续电路。误差比较模块将基准电压VREF与FB比较,当FB小于VREF时,置位RS锁存器,开启开关管M1。当M1导通电流达到设定值时(这里设定 500mA),电流限制模块复位RS锁存器,M1关断,电路循环工作。当开关时间达到极限值时,时间控制模块就产生相应的动作来保护电路。
CTRL端口在系统正常工作后可以加载频率允许范围为100Hz~50kHz的PWM信号,PWM信号控制开关管M2的通断,可以对负载电流进行适当的调制。负载获得的有效电流的大小仅与PWM信号的占空比有关,与频率和幅值无关。
电路在启动时,容易产生过大的冲击电流,甚至使整个系统意外关断。为此,芯片中设计了一款软启动控制电路。软启动电路将开关电流的允许值分步设定两级。系统在电路启动的前一段时间内,开关电流极限值按这两个设定台阶逐级增大。这样,开关电流能够平稳过渡,避免产生过大的尖峰电流。
电池在使用过程中,电压会逐渐减小,容易导致电源转换系统的供电电压不足。整个转换系统电路运行在弱电源电压状况下,系统运行稳定性会变差。为了保护负载和转换电路的安全,芯片设计了欠压保护电路。当电源电压小于某个设定值(这里为 1.5V)时,欠压锁定模块输出保护信号关断后续电路,整个电路停止工作。当电源电压恢复到正常值后,电路重新启动。
电路在运行过程中,温度会随自身功耗而升高。温度过高,芯片的电特性会发生改变,甚至影响系统稳定性。为了防止工作环境变化带来不利的影响,系统中设计了过温保护电路。当温度升高到某个设定值(CMOS 电路通常设定160℃)时,过温保护电路输出逻辑电平关断后续模块电路。当温度降低到另一设定值(通常考虑到版图布局热平衡问题,会留有一定的迟滞裕度,比如150℃或以下),过温保护电路输出电平改变状态,电路恢复正常工作。
此外,论文要求实现的是一个恒流源,电路结构是PFM升压型结构。如果负载意外断开,输出电压可能急剧上升,造成其它电路的损坏。过压保护模块(OVP)就是为防止这样意外情况而设计的。当输出电压大于过压保护阈值时,主开关管关断,直到输出电压恢复到过压保护阈值以下,系统才恢复正常。深圳市程华电子有限公司主营产品包括中低压MOS管、DC-DC恒流IC、DC-DC恒压IC和肖特基二极管等。服务与支持:深圳市程华电子有限公司为客户提供产品选型、样板测试、技术支持等一体服务,可根据客户的参数要求提供高质量的芯片、成熟可靠的芯片解决方案、MOS管芯片订制、免费样品和DEMO板测试等。
特别声明:以上内容(如有图片或视频亦包括在内)为自媒体平台“网易号”用户上传并发布,本平台仅提供信息存储服务。
烦死了!对门那奶奶老是动不动就给我送东西,包子、饺子、粽子、汤圆啥的……
中国空军正式官宣歼-35,整体性能远远优于F-35,隐身性超越F-22
有股友统计,可口可乐从1919年至2024年,105年间涨了大概50万倍
知情人爆料:knight已和BLG续约!朱开爆料:scout想和gala一起打