。本文将介绍一种采用浮动栅极理想二极管控制器的可扩展输入旁路电路解决方案。该电路可解决太阳能功率优化器、快速关断和 PV 接线盒等太阳能
在太阳能光伏 (PV) 系统中,模块级电力电子设备 (MLPE) 可在某些条件(特别是在阴影条件)下提高发电性能。MLPE 曾被视为成本较高的特殊应用,现在则是太阳能行业中发展最快的细分市场之一。太阳能功率优化器是一种用于优化 PV 电池板的功率输出并提高效率的 MLPE。
传统太阳能功率优化器使用 P-N 结二极管或肖特基二极管作为旁路电路。当大电流流过二极管时,由于二极管的正向压降相对较高,产生的高功率耗散会导致严重的热问题。一种改进的方法是使用压降比二极管低的金属氧化物半导体场效应晶体管MOSFET) 来克服高功率损耗问题。
此外,得益于在给定功率等级下导通损耗更低而实现的效率提升以及较低的系统成本,太阳能优化器现在可支持更高的输入电压(两个 PV 电池板串联的情况下,支持高达 150V 瞬态电压)。在本文中,我们将讨论一种采用浮动栅极理想二极管控制器的可扩展输入旁路电路解决方案。该电路可解决太阳能功率优化器、快速关断和 PV 接线盒等太阳能电源应用中旁路开关需要宽电压支持的相关难题。
图 1 展示了一个 PV 系统,其中太阳能功率优化器安装在单个 PV 电池板上。

可以将功率优化器视为介于微型逆变器和串式逆变器之间的折衷方案。功率优化器像微型逆变器一样安装在单个太阳能电池板上,但其功能与将直流电转换为交流电无关。功率优化器实时跟踪每个太阳能电池板的最大功率,并对输出电压进行调节,然后将其传输至逆变器。因此,逆变器可以处理更多的电能,从而使每个太阳能电池板的发电性能得以优化,不论电池板面向太阳的角度和遮光情况如何,亦或是一个或多个电池板损坏,也不受影响。相较于不使用单独的电池板级优化器的太阳能系统,在每个 PV 电池板上安装功率优化器的太阳能系统的效率可提升 20% 至 30%。
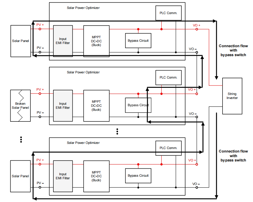
对于大功率光伏逆变器而言,将多个 PV 电池板以串联方式连接可以实现进入逆变器输入端的高直流输入电压。将优化器部署到相应的 PV 电池板可获得超高的效率,如图 2 所示。PV 电池板串实际上通过优化器的输出端相互连接。由于所有 PV 电路板均以串联方式连接,如果任何一个太阳能电池板发生故障,则 PV 电池板串的电压会崩溃。输出旁路电路为受损坏的优化器周围的组串电流提供一条并行路径。图 2 展示了在其中一个 PV 电路板断开时,旁路功能是如何工作的。

旁路电路通常有两种解决方案。实现旁路功能的常用方法是使用 P-N 结二极管或肖特基二极管,如图 3 所示。这种方法成本低、易于使用,并且可根据所选二极管实现非常高的反向电压。但是也存在一些缺点,例如高正向压降(0.5V 至 1V),会导致更高的功率耗散并需要更大的印刷电路板。为了克服旁路二极管解决方案的缺点,可以选择使用压降更低且功率损耗更低(得益于低 RDS(on))的 N 沟道 MOSFET。不过,这种方法也有如下缺点:
MOSFET 不是一种独立的解决方案,它需要在控制电路(通常是带有分立式 MOSFET驱动器电路的微控制器MCU))的作用下用作开关。
MCU 需要由 PV 电路板供电。如果 PV 电路板严重损坏或完全被阴影或遮蔽物覆盖,则 MCU 将无法工作,并且 MOSFET 无法导通。
在 MCU 出现故障的情况下,MOSFET 无法导通,旁路路径会通过 MOSFET 的体二极管。但 MOSFET 的体二极管无法承受大电流,并且会因热量累积而产生高温,造成火灾风险。

为克服基于 MCU 的开/关控制方案的缺点,一种智能方法是使用可在无任何外部干预的情况下自主工作的独立 MOSFET 控制器。德州仪器的LM74610-Q1系列浮动栅极理想二极管控制器通过控制外部 N 沟道 MOSFET 来模拟串联二极管的行为,可提供独立的低损耗旁路开关解决方案。这类控制器具有浮动栅极驱动架构,可在输入电压低至 MOSFET 体二极管正向压降(约为 0.5V)的情况下运行。
不过,随着光伏逆变器功率等级的提高以及更高电压 PV电池板应用的增加,旁路电路需满足一些要求才能优于传统解决方案。它需要与电压范围为 20V 至 150V 的 PV 电池板配合使用,以便可以跨多个平台扩展,并且它应独立于其他电路。
旁路电路解决方案使用具有浮动栅极驱动架构的理想二极管控制器(例如 LM74610-Q1)来驱动外部 MOSFET,并模拟理想二极管作为旁路电路,使其独立于其他电路。浮动栅极驱动架构可以实现通用输入范围,原因在于栅极驱动不以地为基准。此外,该机制的独特优势在于不以地为基准,因此静态电流为零。
当太阳能电池板和太阳能设备正常运行时,旁路 MOSFET 关断,并且从理想二极管控制器的阴极到阳极引脚会出现等于最大电池板电压的反向电压。不过,从理想二极管控制器的阴极到阳极引脚的反向电压(PV+ 至 PV-)可能非常高,可达到 PV 电池板和电池板串的瞬态电压。在串联使用多个具有较大输入电压范围的 PV 电池板时,为旁路电路设计最大输入电压范围可能极具挑战性。LM74610-Q1 的最大反向电压限制为 45V 瞬态。因此,目前可用的理想二极管控制器器件不适用于额定输入电压为 80V 或 125V 的太阳能电池板。
通过在检测路径中添加耗尽型 MOSFET QD 来扩展理想二极管控制器的反向电压范围,可针对任何范围保持该电压电平,如图 4 所示。QD 的漏极连接到输出 PV+。源极和栅极分别连接到理想二极管控制器的阴极和阳极。

耗尽型 MOSFET 默认在 MOSFET VGS 为 0V 时导通,这与增强型 MOSFET 不同,后者要求 VGS 大于 MOSFET 的阈值电压才能导通。要关断耗尽型 MOSFET,VGS 需要小于 0V(典型范围为 –1V 至 –4V)。为了分析耗尽型 MOSFET 在理想二极管检测路径中的作用,我们看一下以下条件下的器件运行情况:
选择 RDS(on) 时,需确保可在电源路径 MOSFET 上实现超低功耗。FET 的漏极电流 (ID) 应高于输出负载所需的最大峰值电流。开始时,可选择一个在满负载电流下能使功率 MOSFET 两端的压降为 50mV 至 100mV 的耗尽型 MOSFET。
RDS(on) 可以在数百欧范围选择(LM74610-Q1 的浮动栅极驱动架构具有较大的阴极引脚对地阻抗,并且控制器的ICATHODE 在微安范围内)。

使用合适规格的 MOSFET(Q1 和 QD),输入电压范围可以扩展至 FET 的 VDS 额定值。这样可以使用同一低压控制器实现高压设计。此外,扩展输入电压范围在企业、通信、电动工具和高压电池管理应用中也非常有用。
如果以串联方式连接的 PV 电池板或太阳能设备出现损坏或故障,必须采用适当的设计来避免出现热点和/或电压供应中断。这一责任通常由太阳能功率优化器或快速关断装置承担。尽管使用标准整流二极管或肖特基二极管是绕过损坏电池板的最简单解决方案,但鉴于热效率低下,它们并非优选方案。与旁路开关解决方案相比,浮动栅极理想二极管控制器搭配 N 沟道 MOSFET 可实现更少的独立损耗,并且进一步通过添加耗尽型 MOSFET 的系统解决方案则可以提供完全可扩展输入范围的解决方案,用于应对 PV 电池板的宽输入电压范围要求。
原文标题:模拟芯视界 如何在太阳能应用旁路电路中使用理想二极管控制器并扩展其输入电压范围
文章出处:【微信号:tisemi,微信公众号:德州仪器】欢迎添加关注!文章转载请注明出处。
LM74700-EP数据表 /
测试及热失控原理 /
解决方案概述 /
的分析 /
IC的优点和缺点 /
2023 年 8 月 9 日,中国 ——意法半导体 STPM801是率先市场推出的车规集成热切换的
,适用于ASIL-D 汽车安全关键应用 /
【HZHY-AI300G智能盒试用连载体验】系统首次开机登录及部分bug修复
如果在不清楚适配器的是否支持QC3.0的情况下,尝试切换至QC3.0协议,该如何判断是否成功切换至QC3.0协议?
【算能RADXA微服务器试用体验】+ GPT语音与视觉交互:6,功能整合,完成项目